Seite 1 von 1
Eaton Servo Pumpe
Verfasst: Fr 6. Dez 2024, 11:04
von Duke70
Hallo zusammen,
kann mir jemand sagen ob es eine Anleitung gibt wie man bei einem 64.5 Mustang die Eaton Servopumpe ausbaut um die Dichtungen neu zu machen ?
Danke für eure Hilfe.
Gruss René
Re: Eaton Servo Pumpe
Verfasst: Sa 7. Dez 2024, 19:16
von Duke70
Schade dass mir hier niemand weiter helfen kann .....
Re: Eaton Servo Pumpe
Verfasst: Sa 7. Dez 2024, 22:53
von tody
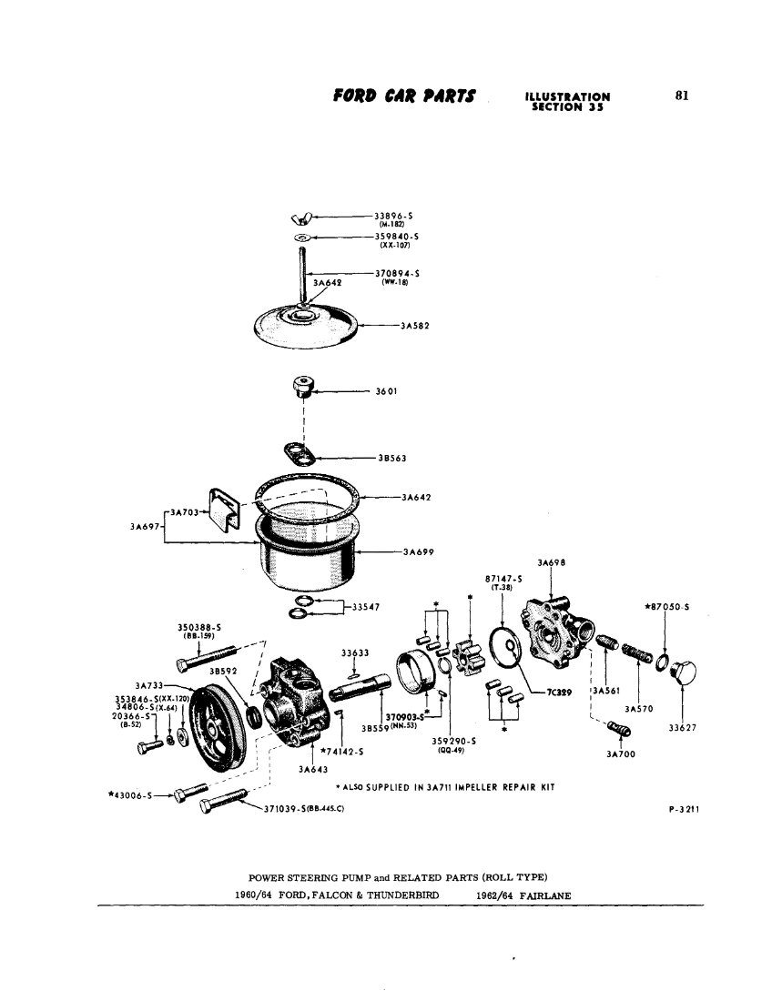
Hilft das hier?

- Ohne Titel.jpg (86.67 KiB) 976 mal betrachtet
Re: Eaton Servo Pumpe
Verfasst: So 8. Dez 2024, 10:20
von DukeLC4
5 Sekunden Suche bei Youtube:
https://www.youtube.com/watch?v=VdhFV_AWL-M
https://www.youtube.com/watch?v=x0fCdnIMqnQ
Weitere Infos findest Du auch im Ford Shop Manual vom passenden Baujahr.
Gruß
Patrick
Re: Eaton Servo Pumpe
Verfasst: So 8. Dez 2024, 16:02
von Duke70
Besten Dank für die Hilfe aber eigentlich meinte ich , wie muss ich vorgehen beim Ausbau der Servopumpe,was muss ich zuerst entfernen ?
Gruss und Dank René
Re: Eaton Servo Pumpe
Verfasst: So 8. Dez 2024, 16:45
von mem
Irgendwie folgt man da der Logik, oder???
Schraube vom Spannhebel lösen, Riemen runter, Schläuche lösen, restliche Schrauben lösen.... wahrscheinlich hat das schreiben jetzt länger gedauert als das Überlegen inkl. Ausbau....

Re: Eaton Servo Pumpe
Verfasst: So 8. Dez 2024, 16:47
von DukeLC4
Duke70 hat geschrieben: ↑So 8. Dez 2024, 16:02
Besten Dank für die Hilfe aber eigentlich meinte ich , wie muss ich vorgehen beim Ausbau der Servopumpe,was muss ich zuerst entfernen ?
Gruss und Dank René
Hallo René,
da braucht es eigentlich keine Anleitung, das ist keine Raketentechnik.
Die Befestigungsschrauben etwas lösen und den Keilriemen runter nehmen.
Die beiden Servoschläuche an der Pumpe abschrauben, Achtung da läuft Öl raus.
Die Befestigungsschrauben rausschrauben und die Pumpe aus dem Motorraum nehmen.
Gruß
Patrick
Re: Eaton Servo Pumpe
Verfasst: So 8. Dez 2024, 17:05
von Duke70
Ich danke euch jetzt schon aber manchmal macht man sich einfach zuviel Stress und übersieht eigentlich dass es ja eigentlich einfach wäre...
Grüssle René